--}}
Новая тема
Вы не можете создавать новые темы.
Т.к. вы неавторизованы на сайте. Пожалуйста назовите себя или зарегистрируйтесь.
Список тем

как работает световой пистолет на приставке Dendy 8bit? ;)

23
31
С друзьями на NN.RU
В социальных сетях
Поделиться
Толмач
01.04.2008
расскажите, пожалуйста
сори за оффтопик...
Был у меня в детстве зыкий пистик - в него вставлялась батарейка, а в дуле была лампочка и линза. В мишени тоже была батарейка, фотодатчик и лампочки. Если попадаешь в фотодатчик - лампочки мигают. ЗЫКА!!!!!
СычЪ
01.04.2008
А мишень в виде робота была, а пистик такой желтый?
Офигенная вещь. Вторая по крутости после "Ну, погоди", где заяц яйца собирал.
Волк там яйца собирал
а если набрать максимальную сумму, то покажут секретную, неизданную серию "Ну, погоди!"
Stinky
01.04.2008
Гы :-D
Тоись чо, когда меня после 999 опять на 0 сбросили, меня жестоко кинули?
Или надо было куда-нить докладывать?
пиратка паленая
с торрента скачал наверное

парень с соседней улицы грил, что он даже смотрел этот мультик, правда зажлобился рассказать чо там
СычЪ
01.04.2008
Ошибся, конечно, волк.
Glacia
06.04.2008
эх...а у мну был ну погоди - мишень-коробочка в котрый надо было стрелять из черного пистолета. там глаза загорались ;))
Stinky
06.04.2008
Воооо... Волка с горящими глазами помню, ага :-D
nnstepan
02.04.2008
И у меня была эта игра. Супер вещь!
TheGhost
02.04.2008
Я вас сейчас всех за пояс заткну! :)))))
У меня такая штука до сих пор есть!!!!! (вроде Снайпер называется, там ещё место, чтобы пистолет убрать на обратной стороне мишени)
Saul
01.04.2008
Меня этот вопрос с детства волнует :) Я даже разобрал один (тогда же, в децтве), но в силу малолетства все равно ничо не понял :)
pecha
01.04.2008
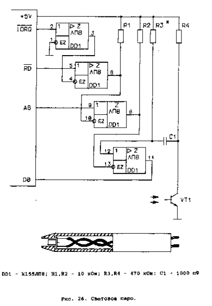
Когда нажимаешь на триггер, общий фон чернеет, а вокруг утки возникает яркий белый квадрат, пистолетик имеет очень узкий сектор обзора, распознавание происходит на контрасте: есть свет - попал, нет света - мимо. Так, во всяком случае, в денди было.(с и все такое forums.igray.ru/lofiversion/index.php/t6290.html )
Гранд респект!!!

теперь хочется найти работающую девайсину и погамать ))
iZverG
01.04.2008
меня тоже интересовало в детстве. так а как вообще распознается - попал или не попал??? в этот момент же ничего не чернеет и не белеет.
iZverG
01.04.2008
Там прикольно сделана поддержка нескольких целей (вроде было максимум 3) когда нажымаешь курок под каждой целью ~ на 1/4 секунды загорается яркий квадрат, причём загораются они последовательно, сответственно по величине задержки между нажатием курка и вспышкой, приставка определяла, куда целишся...


оттуда же. теперь понял. классно )))) все гениальное просто ))
Reutoff
01.04.2008
Ну вот... Ушла еще одна загадка детства :-))
Nikson
01.04.2008
крушение мечты, что пистик распознавал, куда ты гаду попадаешь, в глаз али сердце :-)
Airton
01.04.2008
а когда я делал световое перо к синклеру, была привязка к кадровой или строчной ? развертке ...
AlexKB
01.04.2008
Это даже на EGA-мониторах было возможно сделать, видеокарта генерировала прерывание в момент начала развертки кадра - соответственно можно было точно посчитать момент свечения каждого пиксела. А на VGA от этого почему-то отказались.. Жаль, световое перо удобная фича была бы. Правда, сейчас уже не актуально, в свете активных светодиодных матриц..
а что за световое перо для синклера (он же спектрум?)?
AlexKB
01.04.2008
Ловим прерывание в начале развертки. Далее при поступлении сигнала от фотодатчика получаем некую временную задержку, которую элементарно пересчитываем в координаты.. Можно хоть перо хоть пистолет на этом принципе сделать.
Stinky
01.04.2008
Дык, ыть, наверняка вот это :-D
Airton
01.04.2008
да , нечто подобное .... и работало зараза :) так прикольно было
Sanych
01.04.2008
ёптеть я тоже это когда-то паял :)
Airton
01.04.2008
точно точно.... ээх как давно то было...
57EA17h
01.04.2008
Я конечно очень скромный, но скажу честно, я сам еще в детстве допер, как этот пистолет работает... ( про контраст на месте мишени). конечно же в ходе тысяч высоконаучных экспериментов :)
Sanych
01.04.2008
мы тоже скромные - тоже промолчим :)
wow!
класс! меня это тоже долго интересовало...
DeliT
02.04.2008
в децтве если хотелось набрать max очков, направляли пистолет на горящую лампочку и жали на курок. всегда помогало...
nnstepan
02.04.2008
Когда нажимаешь курок - приставка закрашивает картинку черным, а где цели - рисует белые прямоугольники. В пистолете стоит фотодатчик на свет, если свет попал - значит подбил. Поэтому частая игра в инры с пистолетом сажает кинескоп телевизора. Но встает другой вопрос как если целей много он определяет в какую именно ты попал? Видимо тут либо он с задержкой несколько целей зарисовывает белыми прямоугольниками либо с разной частотой что ли...
Новая тема
Вы не можете создавать новые темы.
Т.к. вы неавторизованы на сайте. Пожалуйста назовите себя или зарегистрируйтесь.
Список тем
Последние темы форумов
Форум Тема (Автор) Последний ответ Ответов
Материнские платы на запчасти и не только

Материнские платы на запчасти и не только Материнские платы и другие комплектующие Отправка в регионы после оплаты. Транспортной...
Цена: 3 000 руб.

Компьютерные и для оргтехники разъёмы

Компьютерные и для оргтехники разъёмы для различной коммутации. переходники . Назначение мне не известно. В наличии 13шт...
Цена: 1 500 руб.

Принтер лазерный HEWLETT PACKARD HP-6L

Принтер лазерный HEWLETT PACKARD HP-6L Отправка в регионы после оплаты. 3штуки БУ. Внешний вид из магазина простояли на складе...
Цена: 4 500 руб.

Игровой компьютер с монитором

i7 3770 palit gtx 1070 8gb 2ssd ( 120, 465 ) 1hdd ( 1tb ) бп - zalman zn500-gs2 монитор в комплекте
Цена: 25 000 руб.